Microsoft Centaurus: Αποκαλύφθηκαν οι πατέντες του foldable device project

Smartphones

Στο Wipo δημοσιεύτηκαν δύο πατέντες για το Centaurus foldable device project που λέγεται ότι θα αποκαλύψει η Microsoft στο Surface event.

Το Surface event της Microsoft έχει δρομολογηθεί να λάβει χώρα στην Νέα Υόρκη στις 2 Οκτωβρίου. Το event αναμένεται να φιλοξενήσει μερικά Surface προϊόντα και ίσως το Centaurus project, το οποίο απευθύνεται σε μία foldable συσκευή.

Σήμερα δημοσιεύτηκε μία αναφορά η οποία παρουσιάζει δύο πατέντες οι οποίες δημοσιεύτηκαν στο World Intellectual Property Organizarion (WIPO) οι οποίες προδίδουν μία foldable συσκευή.

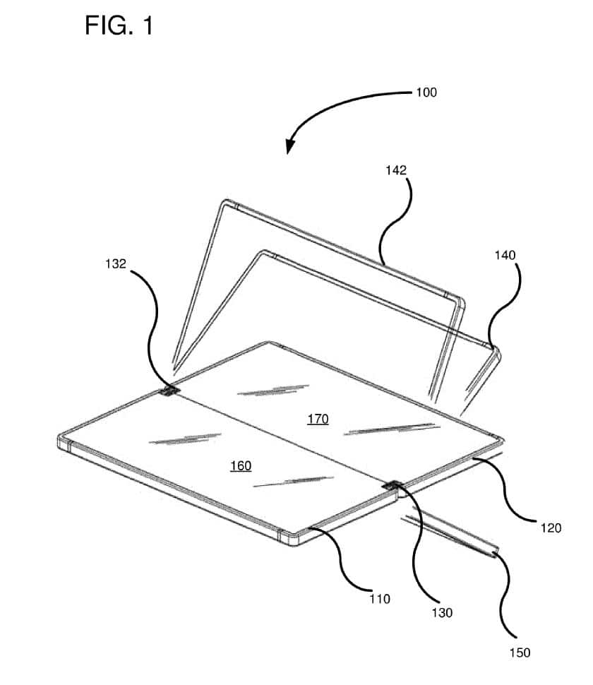
Η μία πατέντα αναφέρεται σε έναν μεντεσέ ο οποίος θα επιτρέπει την περιστροφή της οθόνης 360 μοίρες. Ο μεντεσές αυτός ίσως μοιάζει με το Andromeda device το επιτρέπει την τοποθέτηση της συσκευής σε πέντε διαφορετικές θέσεις. Πιο συγκεκριμένα θα υπάρχουν πέντε pre-set positions τα οποία είναι: κλειστό, concave, convex, tent mode και full.

Οι εφαρμογές θα τρέχουν ανάλογα με την διάταξη της οθόνης. Για παράδειγμα, το tent mode θα μπορούσε να εμφανίζει ένα ξυπνητήρι ενώ το convex mode θα μπορούσε στην μία οθόνη να εμφανίζει ένα εικονικό QWERTY πληκτρολόγιο.

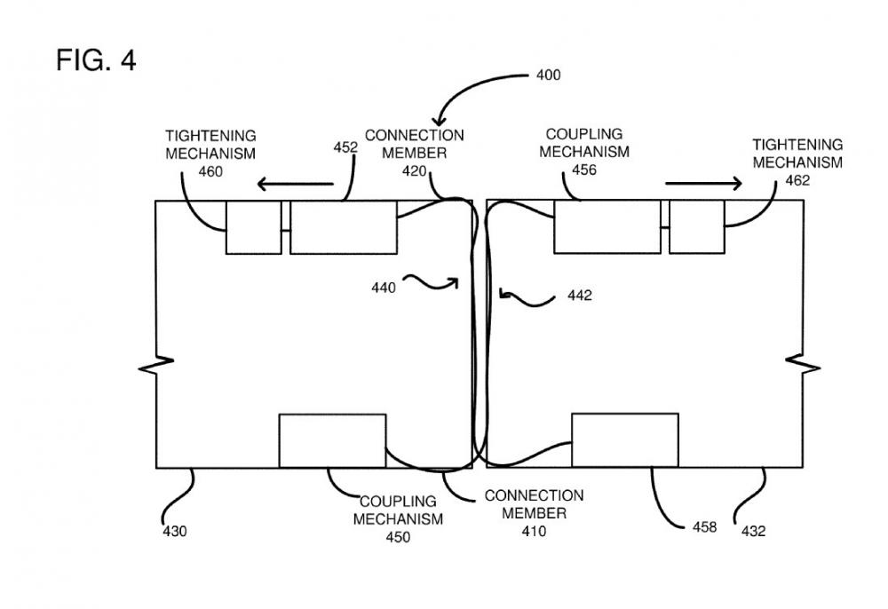
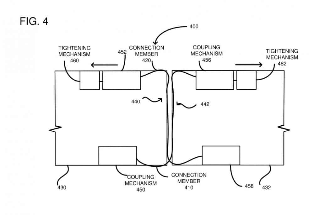
Η δεύτερη πατέντα αποκαλύπτει την χρήση μαγνητών ώστε η συσκευή να παραμένει κλειστή με ασφάλεια. Αυτός ο μηχανισμός βέβαια θα μπορούσε να χρησιμοποιηθεί ώστε η συσκευή να καταλαβαίνει σε ποια διάταξη βρίσκονται οι δύο οθόνες.

Πηγή

Προσθήκη ως προτιμώμενη πηγή στα αποτελέσματα Google

Σου άρεσε το άρθρο;
Υποστήριξε την ανεξάρτητη τεχνολογική ενημέρωση.

Newsletter Techblog
Κάθε Παρασκευή στις 19:00 — smartphones, προσφορές, επιλογές. Χωρίς spam.

Με την εγγραφή σας αποδέχεστε την Πολιτική Απορρήτου.

Σχόλια

Αφήστε μια απάντηση

Η ηλ. διεύθυνση σας δεν δημοσιεύεται. Τα υποχρεωτικά πεδία σημειώνονται με *

Ροή ειδήσεων