Η Samsung κατέθεσε πατέντα για γυαλιά AR

Gear · Samsung Galaxy

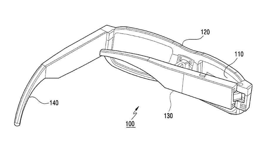
Πατέντα εμφανίστηκε στο U.S. Patent and Trademark Office η οποία παρουσιάζει τα γυαλιά επαυξημένης πραγματικότητας της Samsung.

Μία αναφορά που κυκλοφόρησε στο διαδίκτυο υποστηρίζει ότι η Apple σταμάτησε προσωρινά την ανάπτυξη των AR Glasses. Σήμερα, αποκαλύφθηκε μία πατέντα από την Samsung στο U.S. Patent and Trademark Office, η οποία αναφέρεται σε γυαλιά επαυξημένης πραγματικότητας.

Σύμφωνα με τις πληροφορίες που παρέχει η πατέντα, τα γυαλιά ενεργοποιούνται αμέσως μόλις ξεδιπλωθούν. Ένας projector που βρίσκεται στις πλευρές των γυαλιών ρίχνει φως στους φακούς και εκεί προβάλλεται το υλικό. Ο υπόλοιπος σκελετός των γυαλιών θα φιλοξενεί και το hardware πιθανόν που θα προέρχεται από την ARM.

https://www.youtube.com/watch?v=iOgs2Dspbm4

Πίσω στο 2017, η Samsung είχε παρουσιάσει ένα project ονόματι Monitorless, το οποίο παρουσίαζε γυαλιά επαυξημένης πραγματικότητας, τα οποία συνδέονταν με το κινητό μέσω Wi-Fi. Ταυτόχρονα το κινητό συνδεόταν με τον υπολογιστή και ο χρήστης μπορούσε να παρακολουθήσει όσα έδειχνε η οθόνη του υπολογιστή του στα γυαλιά.

Πηγή

Προσθήκη ως προτεινόμενη πηγή στη Google
Newsletter Techblog
Κάθε Παρασκευή στις 19:00 — smartphones, προσφορές, επιλογές. Χωρίς spam.

Με την εγγραφή σας αποδέχεστε την Πολιτική Απορρήτου.

Σχόλια

Αφήστε μια απάντηση

Η ηλ. διεύθυνση σας δεν δημοσιεύεται. Τα υποχρεωτικά πεδία σημειώνονται με *

Ροή ειδήσεων