Μετά τη Samsung και η Honor φέρεται να ετοιμάζει rollable smartphone

Smartphones

Η Samsung φημολογείται ότι έχει ένα κυλιόμενο smartphone στα σκαριά και τώρα φαίνεται ότι η Honor μπορεί να ετοιμάζεται να μπει στο χορό.

Η Samsung φημολογείται ότι έχει ένα κυλιόμενο smartphone στα σκαριά, η Motorola το δικό της αντίστοιχο project και τώρα φαίνεται ότι η Honor μπορεί να ετοιμάζεται να μπει επίσης στο χορό.

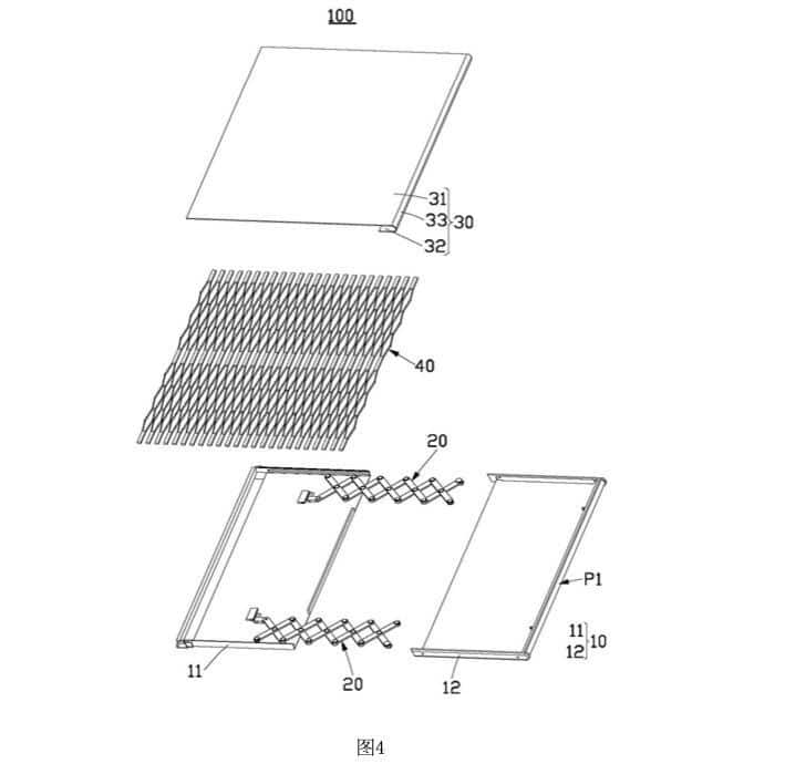
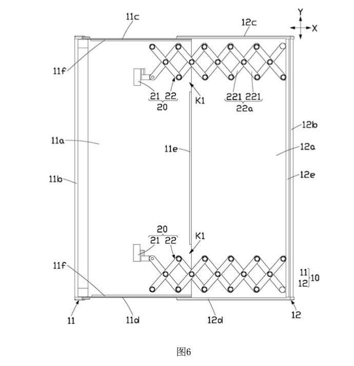
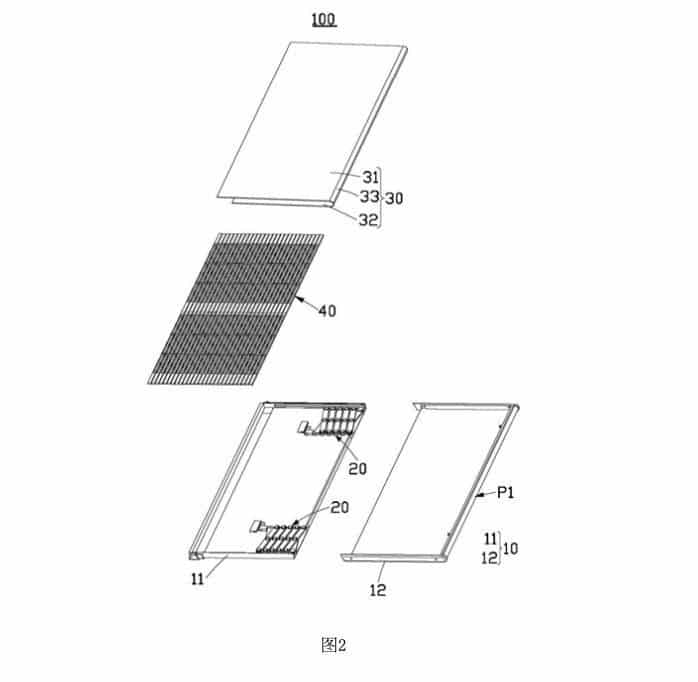
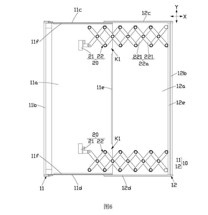
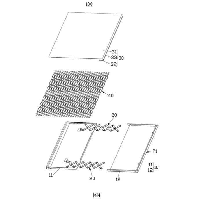
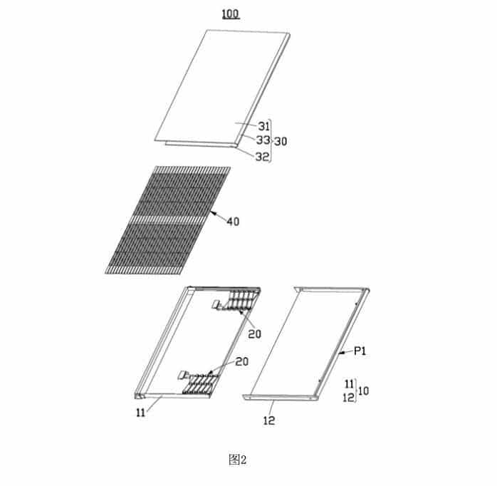
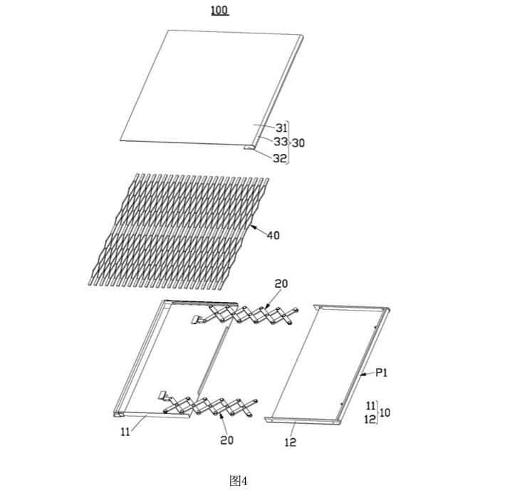
Ένα δίπλωμα ευρεσιτεχνίας της Honor που ανακαλύφθηκε πρόσφατα υποδηλώνει ότι η εταιρεία μπορεί να αναπτύσσει τη δική της κυλιόμενη ή συρόμενη οθόνη. Το δίπλωμα ευρεσιτεχνίας υπογραμμίζει μια δομή στήριξης που είναι κρίσιμη για την ενεργοποίηση του μηχανισμού ολίσθησης, παρόμοια με τον τρόπο λειτουργίας ενός μεντεσέ στα αναδιπλούμενα.

Ο σχεδιασμός της οθόνης διαθέτει δύο τμήματα: το ένα παραμένει ακίνητο, ενώ το άλλο ολισθαίνει στο πλάι. Αυτά τα τμήματα συνδέονται και ασφαλίζονται χρησιμοποιώντας ελαστικές δοκούς, όπως περιγράφεται στο δίπλωμα ευρεσιτεχνίας. Η κίνηση ολίσθησης τροφοδοτείται από έναν γραμμικό κινητήρα, σε συνδυασμό με έναν μηχανισμό που μοιάζει με ψαλίδι.

Η περιγραφόμενη δομή στήριξης φαίνεται να ενισχύει τη σταθερότητα για την εύκαμπτη οθόνη σε μια τέτοια κυλιόμενη συσκευή. Εάν το σύστημα υποστήριξης καταφέρει να εξαλείψει τυχόν κενά, αυτός ο σχεδιασμός μπορεί απλώς να αποδειχθεί πρακτικός και αποτελεσματικός.

Καθώς τα διπλώματα ευρεσιτεχνίας δεν οδηγούν πάντα σε πραγματικά προϊόντα, το γεγονός ότι αυτό εγκρίθηκε από την Εθνική Διοίκηση Πνευματικής Ιδιοκτησίας της Κίνας (CNIPA) δεν εγγυάται ότι η Honor θα κυκλοφορήσει μια τέτοια συσκευή. Ωστόσο, είναι δυνατό, ειδικά εάν οι ανταγωνιστές παρουσιάσουν παρόμοια μοντέλα.

Προσθήκη ως προτεινόμενη πηγή στη Google
Newsletter Techblog
Κάθε Παρασκευή στις 19:00 — smartphones, προσφορές, επιλογές. Χωρίς spam.

Με την εγγραφή σας αποδέχεστε την Πολιτική Απορρήτου.

Σχόλια

Αφήστε μια απάντηση

Η ηλ. διεύθυνση σας δεν δημοσιεύεται. Τα υποχρεωτικά πεδία σημειώνονται με *

Ροή ειδήσεων