Νέα πατέντα της Apple για μεντεσέ αναδιπλούμενων συσκευών

Smartphones

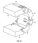
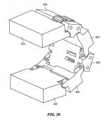
Το πιο πρόσφατο δίπλωμα ευρεσιτεχνίας της Apple είναι το US 12.164.344 ή “Μεντεσέδες για αναδιπλούμενες συσκευές οθόνης”.

Mέσα στα χρόνια η Apple έχει εκδώσει διάφορες πατέντες για τη σχεδίαση αναδιπλούμενων συσκευών, αλλά δεν έχει ακόμη παράγει ένα και το πιο πρόσφατο δίπλωμα ευρεσιτεχνίας είναι το US 12.164.344 ή “Μεντεσέδες για αναδιπλούμενες συσκευές οθόνης”.

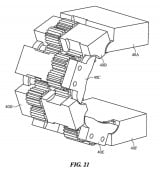
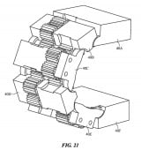
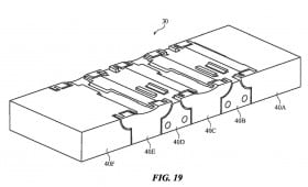
Το δίπλωμα ευρεσιτεχνίας περιγράφει μια σειρά διασυνδεδεμένων συνδέσμων που σχηματίζονται από διασυνδεδεμένα «δάχτυλα» και έναν συμπλέκτη τριβής. Ένα βασικό μέρος του διπλώματος ευρεσιτεχνίας είναι η χρήση υποδοχών σε σχήμα μισοφέγγαρου, οι οποίες επιτρέπουν σε κάθε σύνδεσμο να περιστρέφεται σε σχέση με άλλους. Χάρη σε αυτές, ο άξονας περιστροφής μετακινείται έξω από τον ίδιο τον σύνδεσμο.

Το δίπλωμα ευρεσιτεχνίας αναφέρει ότι αυτή η άρθρωση μπορεί να εφαρμοστεί σε τηλέφωνα, tablet, laptop ή ακόμα και ρολόγια και άλλες φορητές συσκευές. Δεν είναι ξεκάθαρο εάν πρόκειται για μια νέα και βελτιωμένη έκδοση των προηγούμενων μεντεσέδων που κατοχύρωσε η Apple ή αν θα συνυπάρχουν και θα χρησιμοποιηθούν σε διαφορετικές συσκευές.

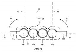
Το δίπλωμα ευρεσιτεχνίας περιγράφει πώς αλληλεπιδρούν τα μέρη για να δημιουργήσουν έναν μικρό αλλά ικανό συμπλέκτη που θα προσφέρει την επιθυμητή ποσότητα τριβής, επιτρέποντας στον μεντεσέ να διατηρεί τη συσκευή διπλωμένη στην απαιτούμενη γωνία. Τα γρανάζια χρειάζονται για να διασφαλιστεί ότι και οι δύο πλευρές του μεντεσέ περιστρέφονται ίσα.

Οι φήμες θέλουν την Apple να εργάζεται πάνω σε ένα iPhone τύπου flip και μεγαλύτερα αναδιπλούμενα iPad/MacBook ως την πρώτη πτυσσόμενη συσκευή της. Η εταιρεία φέρεται να αντιμετωπίζει «τεχνικές προκλήσεις», όπως αναφέρει ο αναλυτής Ming-Chi Kuo, στο σχεδιασμό της οθόνης και των μηχανικών εξαρτημάτων.

Προσθήκη ως προτιμώμενη πηγή στα αποτελέσματα Google

Σου άρεσε το άρθρο;
Υποστήριξε την ανεξάρτητη τεχνολογική ενημέρωση.

Newsletter Techblog
Κάθε Παρασκευή στις 19:00 — smartphones, προσφορές, επιλογές. Χωρίς spam.

Με την εγγραφή σας αποδέχεστε την Πολιτική Απορρήτου.

Σχόλια

Αφήστε μια απάντηση

Η ηλ. διεύθυνση σας δεν δημοσιεύεται. Τα υποχρεωτικά πεδία σημειώνονται με *

Ροή ειδήσεων