Apple Pencil: Πατέντα αποκαλύπτει ότι θα έχει biometric reader και οθόνη

Gear

Πατέντα που αναφέρεται στο Apple Pencil αποκαλύπτει ότι θα έχει αισθητήρα δαχτυλικών αποτυπωμάτων, οθόνη και πολλά άλλα.

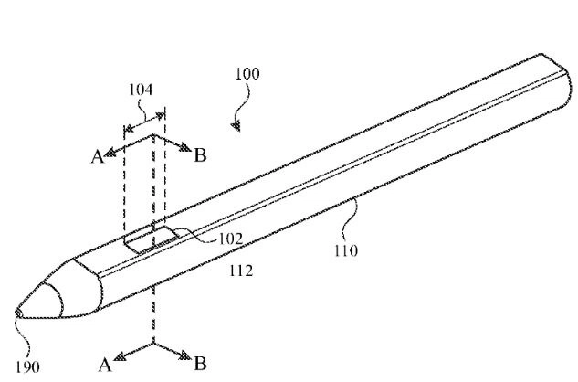
Στο United States Patent and Trademark Office (USPTO) κατατέθηκε μία νέα πατέντα της Apple η οποία αναφέρεται σε ένα νέο Pencil το οποίο θα έχει νέα χαρακτηριστικά και λειτουργίες. Η πατέντα της Apple ονομάζεται “Touch-based input device with haptic feedback” και αποκαλύπτει ότι η πένα θα εξοπλιστεί με αισθητήρα δαχτυλικών αποτυπωμάτων, μία οθόνη καθώς και αισθητήρα πίεσης.

Στο display θα μπορούσαν να φιλοξενηθούν ορισμένα virtual κουμπιά ενώ η λαβή του Pencil θα εξοπλίζεται με piezoelectric device για να παρέχει haptic feedback. Επιπλέον, η Apple θα μπορούσε να ενσωματώσει πολλούς διαφορετικούς αισθητήρες όπως touch, κάμερες και contact ο οποίος θα αναγνωρίζει πότε το Pencil έρχεται σε επαφή με μία οθόνη.

Να υπενθυμίσουμε ότι η δεύτερη γενιά Apple Pencil έχει την δυνατότητα να φορτίσει ασύρματα από το iPad Pro (2018) ενώ με διπλό tap ο χρήστης μπορεί να αλλάξει γρήγορα από μολύβι σε γόμα ή το ανάποδο.

Πηγή

Προσθήκη ως προτιμώμενη πηγή στα αποτελέσματα Google

Σου άρεσε το άρθρο;
Υποστήριξε την ανεξάρτητη τεχνολογική ενημέρωση.

Newsletter Techblog
Κάθε Παρασκευή στις 19:00 — smartphones, προσφορές, επιλογές. Χωρίς spam.

Με την εγγραφή σας αποδέχεστε την Πολιτική Απορρήτου.

Σχόλια

Αφήστε μια απάντηση

Η ηλ. διεύθυνση σας δεν δημοσιεύεται. Τα υποχρεωτικά πεδία σημειώνονται με *

Ροή ειδήσεων