Τα Apple Watch ίσως αποκτήσουν εξωτερικό φακό στο μέλλον

Gear

Τα Apple Watch διαθέτουν μια λειτουργία φακού που κάνει την οθόνη του ρολογιού εντελώς λευκή, διευκολύνοντας τους χρήστες να δουν στο σκοτάδι.

Τα Apple Watch διαθέτουν μια λειτουργία φακού που κάνει την οθόνη του ρολογιού εντελώς λευκή, διευκολύνοντας τους χρήστες να δουν στο σκοτάδι. Ωστόσο, τα μελλοντικά ρολόγια της Apple θα μπορούσαν να συνοδεύονται από έναν εξωτερικό φακό, ο οποίος θα είναι πιο χρήσιμος.

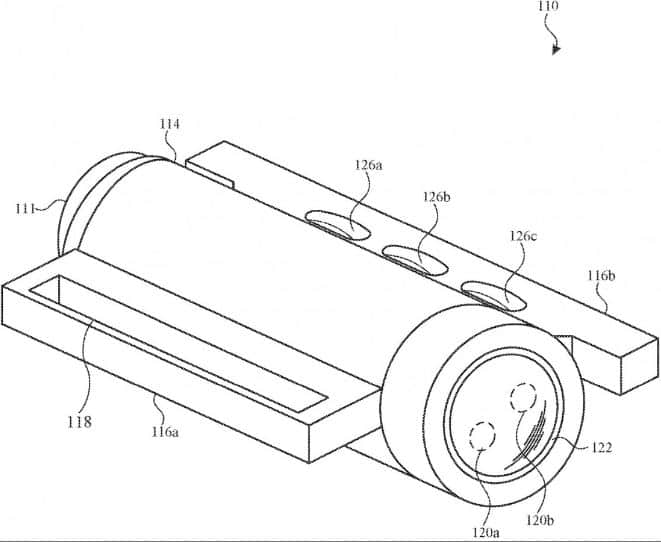
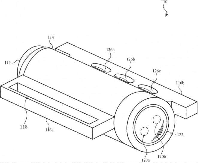
Σύμφωνα με ένα δίπλωμα ευρεσιτεχνίας που χορηγήθηκε στην Apple, η εταιρεία εργάζεται σε μια συσκευή που ονομάζεται “Modular Light Assembly For A Wearable Device”, η οποία είναι “σχεδιασμένη για ενσωμάτωση με φορητές συσκευές”. Μπορεί να συνδεθεί εξωτερικά στο περίβλημα ενός smartwatch και στο band του.

apple watch

Το σχέδιο που περιλαμβάνεται στο δίπλωμα ευρεσιτεχνίας δίνει μια αρκετά λεπτομερή εικόνα του πως θα μπορούσαν να είναι τα μελλοντικά ρολόγια Apple με τον εξωτερικό φακό να είναι συνδεδεμένος στο λουράκι. Αυτός ο φακός μοιάζει πραγματικά πιο πρακτικός, καθώς ο χρήστης μπορεί να το στρέφει όπου θέλει και δε χρειάζεται να κεντράρει με την οθόνη του smartwatch γυρνώντας τον καρπό του. Η οθόνη, δε, έχει μειωμένη εμβέλεια και φωτεινότητα.

Επιπλέον, αυτό το διαμορφώσιμο φως θα έχει τη δική του πηγή ενέργειας, ώστε να μην επηρεάζει την μπαταρία του Apple Watch. Θα μπορούσε επίσης να έχει ένα κουμπί για να το ενεργοποιείτε/απενεργοποιείτε χωρίς να αλληλεπιδράτε με το ρολόι.

Ωστόσο, το δίπλωμα ευρεσιτεχνίας λέει ότι «το διαμορφώσιμο φως μπορεί να λαμβάνει επικοινωνία από τη φορητή συσκευή για να ενεργοποιήσει (ενεργοποιήσει) ή να απενεργοποιήσει (απενεργοποιήσει) μία ή περισσότερες πηγές φωτός του συστήματος διαμορφώσιμου φωτισμού», που σημαίνει ότι οι χρήστες θα μπορούσαν επίσης να το ελέγχουν με το Apple Watch τους.

O φακός θα μπορούσε επίσης να έχει πιστοποίηση IP, καθώς το δίπλωμα ευρεσιτεχνίας λέει, “τα μοντέλα φωτισμού που περιγράφονται εδώ μπορεί να περιλαμβάνουν χαρακτηριστικά ανθεκτικά στα υγρά, όπως στεγανοποιήσεις ή Ο-rings, που εμποδίζουν την είσοδο υγρού σε ευαίσθητα εξαρτήματα.”

Το δίπλωμα ευρεσιτεχνίας αποκαλύπτει επίσης ότι ο φακός μπορεί να διαχωριστεί από το band του ρολογιού, αλλά “σε ορισμένες εφαρμογές, η ταινία είναι ραμμένη, προσκολλημένη ή με άλλο τρόπο προσαρτημένη” στο φακό, πράγμα που σημαίνει ότι θα μπορούσε να πωληθεί ως ξεχωριστό αξεσουάρ για το Apple Watch. Η Apple θα μπορούσε να λανσάρει νέα λουράκια για τον εξωτερικό φακό.

Προσθήκη ως προτιμώμενη πηγή στα αποτελέσματα Google

Σου άρεσε το άρθρο;
Υποστήριξε την ανεξάρτητη τεχνολογική ενημέρωση.

Newsletter Techblog
Κάθε Παρασκευή στις 19:00 — smartphones, προσφορές, επιλογές. Χωρίς spam.

Με την εγγραφή σας αποδέχεστε την Πολιτική Απορρήτου.

Σχόλια

Αφήστε μια απάντηση

Η ηλ. διεύθυνση σας δεν δημοσιεύεται. Τα υποχρεωτικά πεδία σημειώνονται με *

Ροή ειδήσεων